| Availability: | |
|---|---|
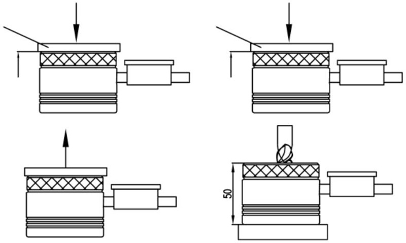
Instructions:
1.Use the gauge pin included to press down on the spring-loaded center piece as illustrated.Please be sure the gauge pin is placed on the shiny surface.
2.Turning the indicator to read"0",then remove the gauge pin.
3.Put the unit on the workpiece and carefully jog the tool down to make contact with the gauge face.When the gauge reads"0" the tools is 2"above the workpiece.
| Code No. | Type | Chief Height | ||||||||
| HIP50-B | Analog internal as illustrated HIP50-B | 50mm | ||||||||
| HVP50-B | Analog external as illustrated HIP50-B | 50mm | ||||||||
Instructions:
1.Use the gauge pin included to press down on the spring-loaded center piece as illustrated.Please be sure the gauge pin is placed on the shiny surface.
2.Turning the indicator to read"0",then remove the gauge pin.
3.Put the unit on the workpiece and carefully jog the tool down to make contact with the gauge face.When the gauge reads"0" the tools is 2"above the workpiece.
| Code No. | Type | Chief Height | ||||||||
| HIP50-B | Analog internal as illustrated HIP50-B | 50mm | ||||||||
| HVP50-B | Analog external as illustrated HIP50-B | 50mm | ||||||||
